Sto SE & Co has filed a patent for a golf ball pickup tool that can be extended and shortened for convenience. The tool features a grip that can accommodate slidable holder pieces, which can hold a golf ball when taken out of the grip. GlobalData’s report on Sto SE & Co gives a 360-degree view of the company including its patenting strategy. Buy the report here.
Discover B2B Marketing That Performs
Combine business intelligence and editorial excellence to reach engaged professionals across 36 leading media platforms.
According to GlobalData’s company profile on Sto SE & Co, vinyl resin foam was a key innovation area identified from patents. Sto SE & Co's grant share as of June 2023 was 1%. Grant share is based on the ratio of number of grants to total number of patents.
Golf ball pickup tool with adjustable length

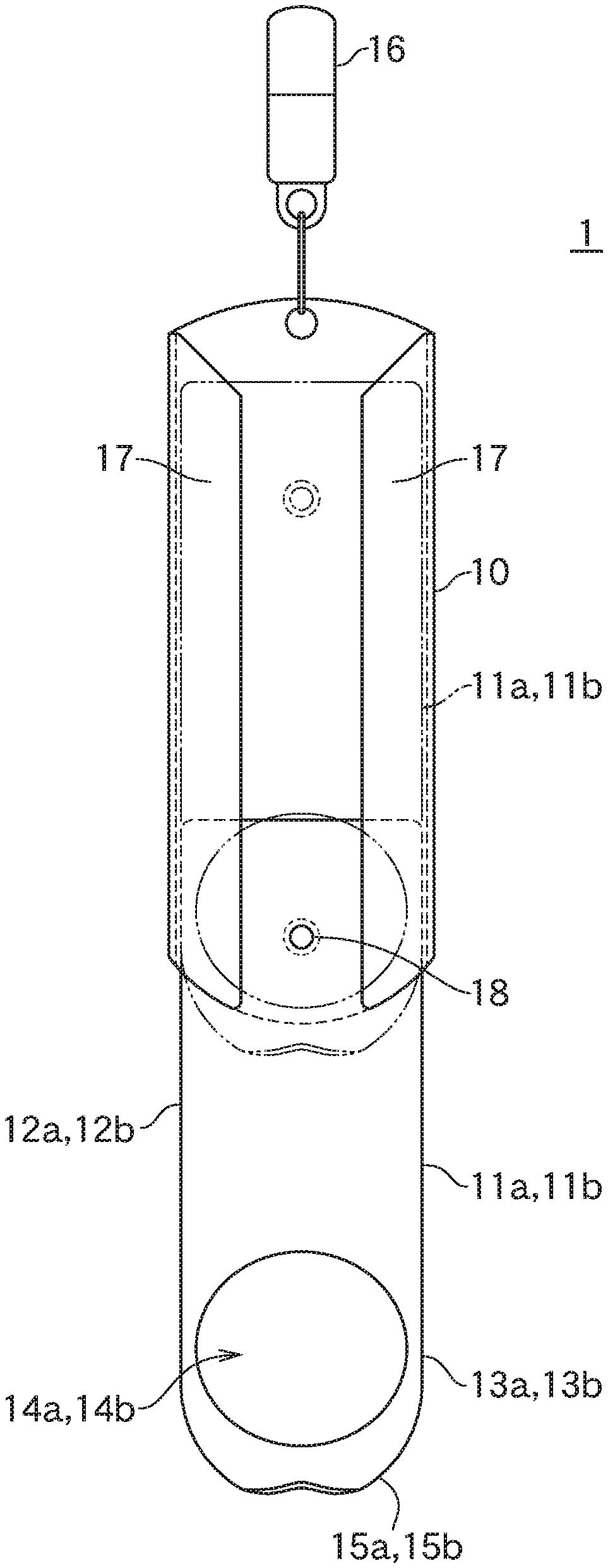
A recently filed patent (Publication Number: US20230173348A1) describes a golf ball pickup tool that aims to make it easier for golfers to retrieve their golf balls. The tool consists of an elongated grip that can be held by hand and two holder pieces made of a material with spring properties. The grip has a movable support that allows the two holder pieces to move in a predetermined direction. The base ends of the holder pieces are joined and supported by the movable support, and the distal ends of the holder pieces are urged to close. The golf ball is held between the distal ends of the holder pieces when they are extended from the grip.
In one embodiment of the invention, each holder piece is made of a thin plate material and has an arm and a holding hole closer to the distal end. The base ends of the two holder pieces are joined together. The movable support is a rotatable support located near one end of the grip, allowing the holder pieces to be turned on a pivot. The golf ball is held between the distal ends of the holder pieces when they are extended from the grip by turning them out of the grip.
Another embodiment of the golf ball pickup tool includes a slide guide as the movable support, enabling the holder pieces to slide in the longitudinal direction of the grip. The holding holes in this embodiment have diameters smaller than that of the golf ball and are shaped like ovals. When the golf ball is held between the distal ends of the holder pieces, the pieces are bent like bows.
The patent also mentions that the grip of the golf ball pickup tool can have a clip for attaching it to an equipment item, providing convenience for golfers.
Overall, this patent describes a golf ball pickup tool with a movable support that allows the holder pieces to hold and release the golf ball. The tool offers different embodiments, including a rotatable support and a slide guide, and variations in the shape and size of the holding holes. The inclusion of a clip on the grip adds versatility to the tool by allowing it to be attached to other equipment.
To know more about GlobalData’s detailed insights on Sto SE & Co, buy the report here.
Data Insights
From
The gold standard of business intelligence.
Blending expert knowledge with cutting-edge technology, GlobalData’s unrivalled proprietary data will enable you to decode what’s happening in your market. You can make better informed decisions and gain a future-proof advantage over your competitors.

